WORLD IMPORT TOOLS(ワールドインポートツールズ)

  • 5000円以上の購入で送料無料(沖縄県、離島、一部地域を除く)
  • 新規会員登録で500円クーポンプレゼント
メニュー

KUKKO 2本アームプーラー 150MM 201-1 クッコ

KUKKO 2本アームプーラー 150MM 201-1 クッコ

商品番号 3242013
定価 ¥ 24,453
¥ 19,562 税込
[ 178 ポイント進呈 ]

¥5,000以上お買い上げで送料無料(沖縄県、離島、一部地域を除く)

他に気になる商品はございませんか?

商品説明

【商品説明】
●ギア、プーリー等の引き抜き用として強力なプーラーです。
●操作中にアームは自動的に締まります。
●2種類の爪を使い分ける事ができるリバーシブルタイプのアームです。
●2本アームタイプは狭い場所での使用に最適です。
【仕様】
●能力(mm):85-150(外抜き)
●最大荷重(t):5
●アーム長(mm):85(深さ)
●センターボルトヘッドサイズ(mm):17
●適合センターボルト品番:614135
●適合ショルダー品番:201-1-T
●適合アーム品番:201-1-85-P
●重量(kg):0.86
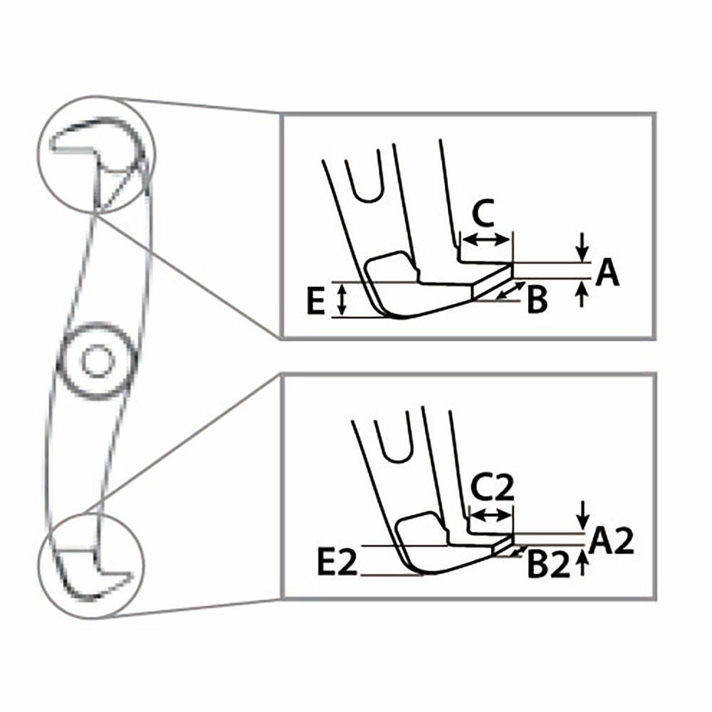
●爪寸法A(mm):3
●爪寸法B(mm):15
●爪寸法C(mm):8
●爪寸法E(mm):8
●爪寸法A2(mm):3
●爪寸法B2(mm):11
●爪寸法C2(mm):7
●爪寸法E2(mm):6.5

おすすめ商品

前へ
次へ

最近見た商品

今週のおすすめアイテム

前へ

BAHCO 3.0t 低床ジャッキ BH13000

  • NEW!
  • 動画あり
  • 冬セール
定価 ¥ 84,040
¥ 54,780 税込
残りわずか
ご注文後のキャンセル不可
次へ