WORLD IMPORT TOOLS(ワールドインポートツールズ)

  • 5000円以上の購入で送料無料(沖縄県、離島、一部地域を除く)
  • 新規会員登録で500円クーポンプレゼント
メニュー

KUKKO 2本アーム ファンプーラー 201-S クッコ

KUKKO 2本アーム ファンプーラー 201-S クッコ

商品番号 3240557
定価 ¥ 36,289
¥ 29,031 税込
[ 264 ポイント進呈 ]

¥5,000以上お買い上げで送料無料(沖縄県、離島、一部地域を除く)

他に気になる商品はございませんか?

商品説明

【商品説明】
●長いアームがファンのハブをつかみます。
●操作中にアームは自動的に締まります。
●2種類の爪を使い分ける事ができるリバーシブルタイプのアームです。
●2本アームタイプは狭い場所での使用に最適です。
●ジョイント位置を変更することでアームの長さを変えることができます。
【仕様】
●能力(mm):80-200(外抜き)
●最大荷重(t):1.5
●アーム長(mm):200(深さ)
●センターボルトヘッドサイズ(mm):17
●適合センターボルト品番:614241
●適合ショルダー品番:201-1-T
●適合アーム品番:201-S-P
●重量(kg):1.16
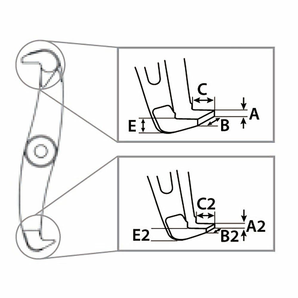
●爪寸法A(mm):7.5
●爪寸法B(mm):6.0
●爪寸法C(mm):4.0・
●爪寸法E(mm):6.0
●爪寸法A2(mm):9.0
●爪寸法B2(mm):8.5
●爪寸法C2(mm):4.0
●爪寸法E2(mm):8.0
●ジョイント位置調整穴数:3

おすすめ商品

前へ
次へ

最近見た商品

今週のおすすめアイテム

前へ

BAHCO 3.0t 低床ジャッキ BH13000

  • NEW!
  • 動画あり
  • 冬セール
定価 ¥ 84,040
¥ 54,780 税込
残りわずか
ご注文後のキャンセル不可
次へ